ติดตั้ง Mac Pro ในแร็ค
สิ่งสำคัญ: ก่อนที่จะติดตั้ง Mac Pro ในแร็ค ให้อ่านหมายเหตุเพื่อความปลอดภัยที่พบในข้อมูลด้านความปลอดภัยที่สำคัญสำหรับ Mac ของคุณ คุณยังสามารถตรวจดูข้อมูลจำเพาะทางเทคนิคของคุณได้อีกด้วย เปิด การตั้งค่าระบบ แล้วเลือก วิธีใช้ > ข้อมูลจำเพาะของ Mac Pro
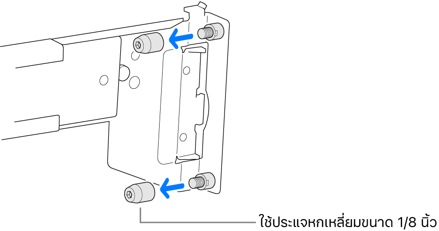
Mac Pro และชิ้นส่วนประกอบรางสามารถติดตั้งลงในแร็คประเภทใดก็ได้จากแร็คมาตรฐานอุตสาหกรรมสามประเภท โดยความลึกขั้นต่ำของแร็คคือ 24 นิ้ว (60.96 ซม.) และความลึกมากที่สุดของแร็คคือ 42 นิ้ว (106.68 ซม.) รางจะประกอบเข้าพอดีกับรูสี่เหลี่ยม แต่ถ้าคุณเอาฝาครอบรูออก รางเหล่านั้นจะประกอบเข้าพอดีกับรูกลมด้วย ในการติดตั้งรางลงในแร็คแบบรูเส้นเกลียว ให้เอาสกรูออกจากรางแล้วใส่สกรูกลับเข้าที่เพื่อยึดรางเข้ากับแร็ค การดำเนินการนี้ต้องใช้กับประแจหกเหลี่ยมแบบมาตรฐานขนาด 1/8 นิ้ว (3 มม.) และประแจขนาด 1/4 นิ้ว (6 มม.) ตัวอย่างของแร็คประเภทต่างๆ อยู่ด้านล่างนี้
หมายเหตุ: คำแนะนำเหล่านี้เป็นคำแนะนำสำหรับเวิร์กสเตชั่น Mac Pro แบบแร็คที่มี Apple Silicon ถ้าคุณมีเวิร์กสเตชั่น Mac Pro แบบแร็คที่ใช้ Intel ให้ดูที่ติดตั้ง Mac Pro ในแร็ค
แร็คแบบรูสี่เหลี่ยม

แร็คแบบรูกลม

แร็คแบบรูเส้นเกลียว

ในการติดตั้ง Mac Pro เข้าในแร็ค คุณจะต้องยึดติดชิ้นส่วนประกอบรางเข้ากับ Mac Pro และแร็ค (ความลึกขั้นต่ำของแร็คต้องมีอย่างน้อย 24 นิ้ว)
หมายเหตุ: Mac Pro ต้องมีแร็คยูนิตห้ายูนิต (5U) สองยูนิตด้านบนสุดควรปล่อยให้ว่างเปล่า ชิ้นส่วนประกอบรางควรติดตั้งในสองยูนิตถัดลงมา และอีกหนึ่งยูนิตด้านล่างชิ้นส่วนประกอบรางควรปล่อยให้ว่างเปล่า

อากาศที่ทำให้ Mac Pro เย็นลงจะไหลเวียนจากด้านหน้าไปด้านหลัง ตรวจสอบให้แน่ใจว่าไม่มีสิ่งใดกีดขวางช่องเปิดใดๆ ที่ด้านหน้าและด้านหลังของฝาครอบ

ดึงชิ้นส่วนประกอบรางชิ้นแรกจากรางที่ยังไม่ได้ยึดติด (ชิ้นส่วนประกอบทางซ้ายหรือขวา)

ใส่หมุดรางด้านหลังของชิ้นส่วนประกอบรางเข้าไปที่ด้านหลังของแร็ค จากนั้นดันด้านหน้าของชิ้นส่วนประกอบเข้าไปในแร็ค
รางควรสอดเข้าไปในแร็คและชิ้นส่วนประกอบควรติดเข้าที่ ถ้าสิ่งนี้ไม่เกิดขึ้น แสดงว่ารางอาจล็อคอยู่ ในกรณีนี้ ให้ดึงคานงัดสีส้มบนรางเพื่อปลดล็อค


เลื่อนรางด้านในออกจนล็อคเข้าที่

เลื่อนสลักปลดเพื่อถอดรางด้านในออกจากชิ้นส่วนประกอบ

ทำซ้ำขั้นตอนที่ 1 ถึง 3 สำหรับชิ้นส่วนประกอบรางชิ้นอื่น
ยึดติดรางด้านในเข้ากับด้านข้างของ Mac Pro โดยตรวจสอบให้แน่ใจว่าสลักปลดอยู่ที่ด้านหน้าของคอมพิวเตอร์และใส่ห่วงรางเข้าในจุดยึดรางของ Mac Pro อย่างแน่นสนิทดี

เลื่อนส่วนรางไปด้านหน้าจนกระทั่งสปริงล็อคยึดกับจุดยึดด้านหน้า

เลื่อนรางกลางออกมาจากแร็ค
ใช้สองคนเพื่อยกคอมพิวเตอร์

จัดแนวรางที่ยึดติดกับ Mac Pro โดยให้รางส่วนกลางอยู่ในแร็ค แล้วเลื่อนคอมพิวเตอร์เข้าไปในแร็ค
