Встановлення Mac Pro в стелаж
Важливо! Перш ніж установити Mac Pro в стелаж, прочитайте безпекові примітки в статті Важлива інформація про безпеку використання Mac. Також можна переглянути технічні характеристики. Відкрийте Системні параметри і виберіть Довідка > Характеристики Mac Pro.
Mac Pro та рейкові збірки можна встановлювати в будь-який із трьох стандартних типів стелажів з мінімальною глибиною стелажа 60,96 см (24 дюйми) і максимальною глибиною стелажа 106,68 см (42 дюйми). Початкова конфігурація кріплень рейок передбачає монтаж у квадратні отвори, однак якщо зняти накладки отворів, рейки можна буде встановлювати в стелажі з круглими отворами. Щоб установити рейки в стелажі з різьбовим кріпленням, викрутіть гвинти з рейок, а потім зафіксуйте ними рейки на стелажі. Для цього знадобляться стандартні шестигранні ключі діаметром 3 мм (1/8 дюйма) та 6 мм (1/4 дюйма). Нижче наведено приклади різних типів стелажів.
Примітка. Це інструкції для робочих станцій Mac Pro на базі процесора Apple, які монтуються в стелаж. Якщо ви користуєтеся робочою станцією Mac Pro на базі процесора Intel, яка монтується в стелаж, перегляньте Встановлення Mac Pro в стелаж.
Стелаж із квадратними отворами

Стелаж із круглими отворами

Стелаж із різьбовим кріпленням

Щоб установити Mac Pro в стелаж, необхідно змонтувати рейкові збірки на Mac Pro та на стелажі. (Мінімальна глибина стелажа має становити принаймні 24 дюйми).
Примітка. Mac Pro займає п’ять блоків стелажа (5U). Два верхніх блоки слід залишити порожніми, рейкові збірки слід установлювати в наступні два блоки, а нижній блок під рейковими збірками потрібно також залишити порожнім.

Повітряний потік, який охолоджує Mac Pro, протікає спереду назад. Переконайтеся, що вентиляційні отвори спереду та ззаду корпусу ніщо не блокує.

Розкрийте одну з іще не змонтованих рейок (ліву або праву) першової рейкової збірки.

Вставте задні рейкові штифти збірки в задню стійку стелажа, а потім проштовхніть передню частину збірки, щоб зафіксувати її у стелаж.
Рейка має зайти в стелаж і збірка має заскочити на місце. Якщо цього не сталося, можливо, рейка заблокована. В такому разі потягніть оранжевий важіль на рейці, щоб розблокувати її.


Висуньте внутрішню рейку, доки вона не замкнеться.

Посуньте фіксатор для вивільнення, щоб від’єднати внутрішню рейку від збірки.

Повторіть кроки 1–3 для іншої збірки.
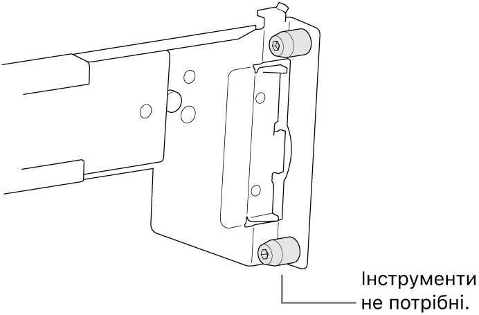
Приєднайте внутрішні рейки з обох боків Mac Pro, переконавшись, що фіксатори для вивільнення спрямовані до передньої частини комп’ютера, а прорізи рейок надійно змонтовані на рейкових штоках Mac Pro.

Посуньте рейкову секцію вперед, щоб пружинний механізм увійшов у зачеплення з переднім штоком.

Висуньте середні рейки стелажа.
Піднімайте комп’ютер вдвох.

Сумістіть рейки на Mac Pro із середніми рейками в стелажі, а потім посуньте комп’ютер усередину стелажа.
