Inštalácia Macu Pro do racku
Dôležité: Pred inštaláciou Macu Pro do racku si prečítajte bezpečnostné poznámky uvedené v časti Dôležité informácie o bezpečnosti vášho Macu. Môžete si tiež pozrieť svoje technické špecifikácie. Otvorte Systémové nastavenia a potom vyberte Pomocník Help > Špecifikácie Macu Pro.
Mac Pro a zostavu koľajničiek je možné nainštalovať na ktoromkoľvek z troch štandardných typov racku s minimálnou hĺbkou racku 60,96 cm a maximálnou hĺbkou racku 106,68 cm. Koľajničky sa dodávajú zostavené tak, aby pasovali do štvorcových dier, ale ak odstránite kryty dier, koľajničky budú pasovať aj do okrúhlych dier. Ak chcete koľajničky inštalovať do závitového racku, odstráňte z nich skrutky a po vložení koľajničiek do racku skrutky opäť priskrutkujte. Budete na to potrebovať štandardný 3 mm (1/8-palcový) imbusový kľúč a 6 mm (1/4-palcový) kľúč. Príklady jednotlivých typov rackov sú znázornené nižšie.
Poznámka: Tieto pokyny sú pre rackovú pracovnú stanicu Mac Pro s Apple čipom. Ak máte rackovú pracovnú stanicu Mac Pro s procesorom Intel, pozrite si článok Inštalácia Macu Pro do racku.
Rack so štvorcovými dierami

Rack s okrúhlymi dierami

Závitový rack

Ak chcete Mac Pro nainštalovať do racku, najskôr musíte k Macu Pro a k racku pripevniť zostavu koľajničiek. (Minimálna hĺbka racku musí byť 61 cm.)
Poznámka: Mac Pro vyžaduje päť rackových jednotiek (5U). Dve vrchné jednotky by mali zostať prázdne, do ďalších dvoch by sa mali nainštalovať zostavy koľajničiek a jedna jednotka pod zostavami koľajničiek by taktiež mala zostať prázdna.

Vzduch, ktorý ochladzuje Mac Pro, prúdi spredu dozadu. Zabezpečte preto, aby žiadne otvory na prednej a zadnej strane skrine počítača neboli ničím blokované.

Z nenamontovaných koľajničiek (ľavej alebo pravej zostavy) vysuňte prvú zostavu koľajničiek.

Zasuňte výstupky zadnej zostavy koľajničiek do zadnej časti racku a zatlačte prednú stranu zostavy do racku.
Koľajnička by sa mala vložiť do racku a zostava mi mala zacvaknúť na svojom mieste. Ak sa to nestane, koľajnička môže byť zamknutá. V takom prípade potiahnutím oranžovej páčky na koľajničkách ich odblokujte.


Vysúvajte vnútornú koľajničku, až kým sa uzamkne.

Posunutím uvoľňovacej západky oddeľte vnútornú koľajničku od zostavy.

Kroky 1 až 3 zopakujte pre ostatné zostavy koľajničiek.
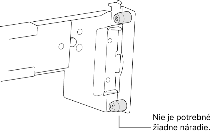
Vnútorné koľajničky pripevnite k bočným stranám Macu Pro tak, aby uvoľňovacie západky smerovali k prednej strane počítača a diery na koľajničkách boli dobre umiestnené na stĺpikoch pre koľajničky na Macu Pro.

Vysuňte koľajničkovú časť dopredu, až kým sa pružinový zámok nezachytí o predný stĺpik.

Vysuňte stredné koľajničky na racku.
Počítač zdvihnite s pomocou dvoch osôb.

Zarovnajte koľajničky pripevnené k Macu Pro so strednými koľajničkami v racku a potom zasuňte počítač do racku.
