Mac Pro datora uzstādīšana statīvā
Svarīgi. Pirms Mac Pro datora uzstādīšanas statīvā izlasiet drošības piezīmes sadaļā Svarīga informācija par jūsu Mac datora drošību. Varat arī skatīt tehniskās specifikācijas. Atveriet System Settings, izvēlieties Help > Mac Pro Specifications.
Mac Pro datoru un sliedes mezglus var uzstādīt jebkurā no trim nozares standarta statīvu veidiem ar minimālo statīva dziļumu 60,96 cm un maksimālo statīva dziļumu 106,68 cm. Sliedes mezgli ir paredzēti ievietošanai četrstūrainos caurumos, bet, ja noņemsit caurumu pārsegus, sliedes derēs arī apaļiem caurumiem. Lai uzstādītu sliedes vītņotajā statīvā, izņemiet skrūves no sliedēm, pēc tam ielieciet skrūves, lai piestiprinātu sliedes pie statīva. Tam nepieciešama standarta 1/8 collas (3 mm) seškantes atslēga un 1/4 collas (6 mm) uzgriežņu atslēga. Tālāk aprakstīti dažādu veidu statīvi.
Piezīme. Šie norādījumi ir Mac Pro statīva darbstacijai ar Apple silicon. Ja jums ir Mac Pro statīva darbstacija ar Intel procesoru, skatiet Mac Pro datora uzstādīšana statīvā.
Statīvs ar četrstūrainiem caurumiem.

Statīvs ar apaļiem caurumiem.

Vītņots statīvs.

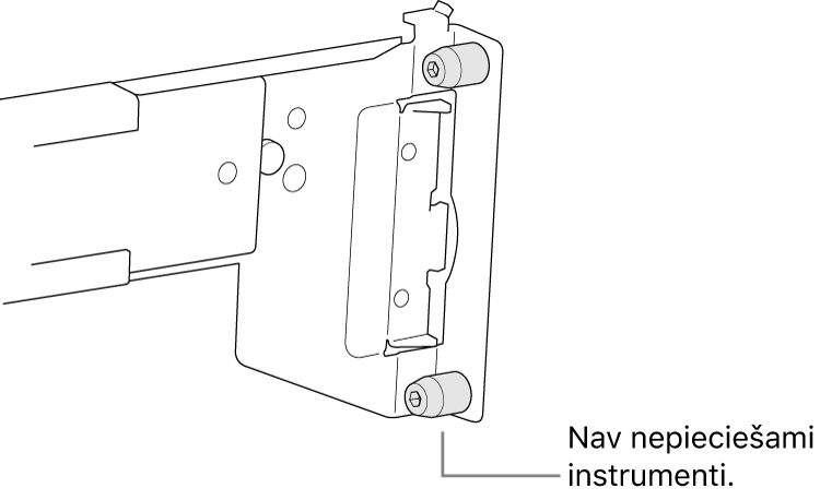
Lai uzstādītu Mac Pro datoru statīvā, nepieciešams piestiprināt sliežu mezglus pie Mac Pro datora un pie statīva. (Minimālais statīva dziļums ir vismaz 60,96 cm.)
Piezīme. Mac Pro datoram ir nepieciešami pieci statīva elementi (5U). Diviem augšējiem elementiem ir jābūt tukšiem; nākamajos divos elementos uzstādāmi sliežu mezgli; vienam elementam zem sliežu mezgliem ir jāpaliek tukšam.

Gaiss Mac Pro datora dzesēšanai plūst no priekšpuses uz aizmuguri. Pārliecinieties, ka nekas nebloķē atveres korpusa priekšā un aizmugurē.

Pagariniet vienas sliedes pirmo sliežu mezglu (kreiso vai labo mezglu).

Ievietojiet aizmugurējā sliežu mezgla tapas statīva aizmugurē, pēc tam iestumiet mezgla priekšpusi statīvā.
Sliede jāievieto statīvā, un tā ar klikšķi jāfiksē vietā. Ja tā nenotiek, iespējams, sliede jau ir fiksēta. Tādā gadījumā pavelciet oranžo sviru, lai to atbloķētu.


Slidiniet uz āru iekšējo sliedi, līdz tā fiksējas.

Slidiniet atbrīvošanas fiksatoru, lai atvienotu iekšējo sliedi no mezgla.

Atkārtojiet 1. līdz 3. darbību, lai samontētu otru sliedi.
Piestipriniet iekšējās sliedes Mac Pro datora sāniem, pārliecinoties, ka atbrīvošanas fiksatori ir datora priekšā un sliežu cilpas ir kārtīgi novietotas uz Mac Pro sliežu stabiem.

Slidiniet sliedes daļu uz priekšu, līdz atsperes fiksators savienojas ar stabu.

Izvelciet statīva vidējās sliedes.
Lai paceltu datoru, nepieciešami divi cilvēki.

Izlīdziniet Mac Pro piestiprinātās sliedes ar statīva vidējām sliedēm, pēc tam iebīdiet datoru statīvā.
