랙에 Mac Pro 설치하기
중요사항: 랙에 Mac Pro를 설치하기 전에, Mac에 대한 중요한 안전 정보에 있는 안전 관련 설명을 확인하십시오. 또한 기술 사양을 보고 확인할 수도 있습니다. 시스템 설정을 열고 도움말 > Mac Pro 사양을 선택하십시오.
Mac Pro 및 레일 어셈블리는 최소 랙 깊이 60.96cm 및 최대 랙 깊이 106.68cm에 해당하는 세 가지 업계 표준 랙 유형 중 하나에 설치될 수 있습니다. 레일은 정사각형 구멍에 맞도록 조립되어 제공되지만, 구멍 덮개를 제거하면 레일은 둥근 구멍에도 맞습니다. 레일을 스레드 랙에 설치하려면 레일에서 나사를 제거한 다음, 랙에 레일이 고정되도록 나사를 재배치하십시오. 여기에서 표준 3mm 육각 렌치와 6mm 렌치가 필요합니다. 아래는 랙의 각 유형 예시입니다.
참고: 이 지침은 Apple Silicon이 탑재된 Mac Pro 랙 워크스테이션용입니다. Intel 기반 Mac Pro 랙 워크스테이션이 있는 경우 랙에 Mac Pro 설치하기의 내용을 참조하십시오.
정사각형 구멍 랙

둥근 구멍 랙

스레드 랙

랙에 Mac Pro를 설치하려면 Mac Pro와 랙에 레일 어셈블리를 장착해야 합니다. (랙의 깊이는 최소 60.96cm 이상이어야 합니다.)
참고: Mac Pro에는 5개의 랙 유닛(5U)이 필요합니다. 상단 두 개의 유닛은 비워두어야 하며, 레일 어셈블리는 그 다음 두 개의 유닛에 설치되어야 합니다. 레일 어셈블리 아래의 유닛 하나는 비워두어야 합니다.

Mac Pro를 식히기 위해 공기가 앞뒤로 통하도록 합니다. 하우징의 앞면과 뒷면의 구멍을 막는 것이 없는지 확인하십시오.

마운트되지 않은 레일 중 하나의 첫 번째 레일 어셈블리(왼쪽 또는 오른쪽 어셈블리)를 확장하십시오.

후면 레일 어셈블리의 핀을 랙 뒤에 삽입한 다음, 어셈블리의 전면을 랙으로 밀어 넣으십시오.
레일이 랙에 삽입되고 어셈블리가 딸깍하는 소리와 함께 고정됩니다. 이렇게 되지 않는다면 레일이 잠금 상태일 수도 있습니다. 이 경우, 레일에 있는 주황색 레버를 당겨서 잠금 해제하십시오.


안쪽 레일이 고정될 때까지 밖으로 미십시오.

분리 래치를 밀어서 안쪽 레일을 어셈블리에서 분리하십시오.

다른 레일 어셈블리에 대해 1~3단계를 반복하십시오.
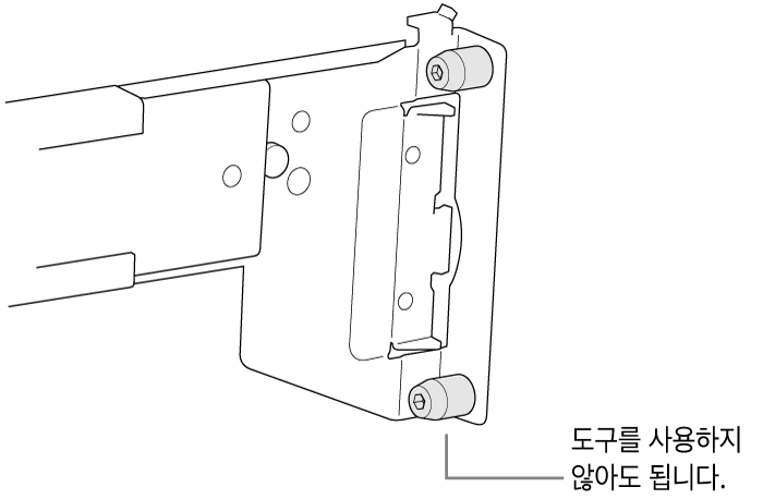
Mac Pro 측면에 안쪽 레일을 장착하여 분리 래치가 컴퓨터 앞쪽을 향하도록 하고, 레일의 작은 구멍이 Mac Pro 레일 포스트에 올바르게 위치하도록 하십시오.

스프링 잠금 장치가 앞의 포스트에 맞물릴 때까지 레일 부분을 앞으로 미십시오.

랙의 중간 레일을 밖으로 미십시오.
두 명이 컴퓨터를 들어 올리십시오.

Mac Pro에 장착된 레일을 랙의 중간 레일에 맞춘 다음, 컴퓨터를 랙으로 밀어넣으십시오.
